Просмотры:0 Автор:Pедактор сайта Время публикации: 2022-05-25 Происхождение:Работает
Цепная конструкция резинового крыла сотового типа
Когда корабль стоит у причала, большинство кораблей сначала столкнутся с причалом на расстоянии 1/3 и 1/4 длины от носа или кормы.В качестве противоударного оборудования причала резиновое крыло должно выдерживать не только нормальную ударную силу, перпендикулярную причальной стенке, но и касательную силу, параллельную причальной стенке.В нормальных условиях эксплуатации резиновый кранец сотового типа может выдерживать тангенциальную силу корабля.Однако, когда деформация сдвига ствола резинового кранца превышает указанные требования, срезная цепь должна предотвращать деформацию сдвига ствола резинового кранца.Таким образом, срезная цепь играет важную роль в обеспечении нормальной работы и приемлемой производительности барабанного отбойника.
Ниже представлен метод конструирования барабанной резиновой цепи для отбойных устройств.
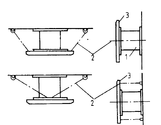
Срезная цепь обычно размещается по обеим сторонам резинового кранца, при этом один конец закрепляется на противоударной пластине , а другой конец закрепляется на стенке причала (рис. I).Срезная цепь обычно использует обычную цепь, ее характеристики и количество определяются спецификацией резинового крыла, расположением резинового крыла и размером противоударной пластины.

Рисунок I
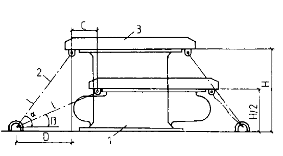
Принцип конструкции противорежущей цепи заключается в обеспечении того, чтобы сдвиговая деформация ячеистого резинового отбойного устройства не превышала заданных требований в самых неблагоприятных условиях причаливания.Предполагается, что расчетная скорость деформации резинового крыла барабана составляет 50 %, а допустимая деформация сдвига равна C. Как показано на рисунке 2.
C: допустимая деформация сдвига резинового отбойного устройства барабанного типа;
D: Горизонтальная проекция срезной цепи на причальную стенку резинового кранца в условиях разгрузки;
H: высота резинового крыла барабана.
Срезная цепь резинового кранца ячеистого типа должна располагаться горизонтально с обеих сторон резинового кранца.
Длина l рассчитывается по формуле.Один конец закреплен на противоударной пластине, а другой конец закреплен на встроенном U-образном кольце.